NACHRICHT
Sie sind hier: Heim » Nachricht » 5-Achsen-CNC-Fräser » Was kann eine 5-Achsen-CNC-Maschine machen?

Was kann eine 5-Achsen-CNC-Maschine machen?

Anzahl Durchsuchen:0     Autor:Site Editor     veröffentlichen Zeit: 2025-03-13      Herkunft:Powered

erkundigen

facebook sharing button
twitter sharing button
line sharing button
wechat sharing button
linkedin sharing button
pinterest sharing button
whatsapp sharing button
sharethis sharing button

Einführung

Haben Sie sich jemals gefragt, was eine 5-Achsen-CNC-Maschine tun kann? Diese Maschinen verändern die Art und Weise, wie Branchen komplexe Teile schaffen.

In diesem Beitrag werden wir uns mit der Entwicklung von 3-Achsen bis zu 5-Achsen-CNC-Maschinen und ihrer wachsenden Bedeutung für die Herstellung eintauchen. Sie erfahren, wie 5-Achsen-CNC-Maschinen Spielveränderer bei der Herstellung präziser und komplizierter Teile sind.


5-Achsen-CNC-Maschinen verstehen


Was ist eine 5-Achsen-CNC-Maschine?

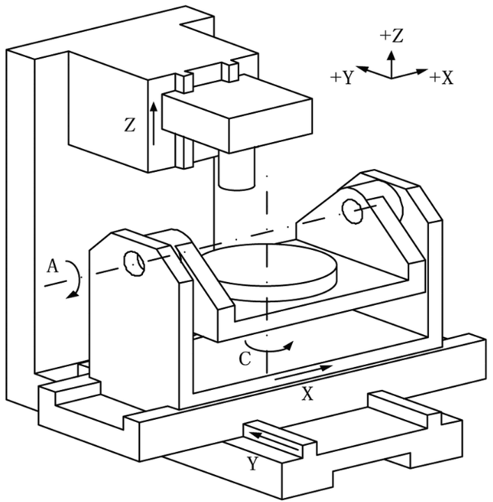
Eine 5-Achsen-CNC-Maschine ist ein modernes Tool, das für eine präzise und komplexe Herstellung verwendet wird. Im Gegensatz zu herkömmlichen 3-Achsen-Maschinen verfügt über ein 5-Achsen-CNC über fünf verschiedene Bewegungen, um das Schneidwerkzeug zu steuern, was mehr Flexibilität und Genauigkeit verleiht.

  • X, y und z -Achsen : Dies sind die linearen Achsen, die das Werkzeug entlang der Länge, Breite und Tiefe des Werkstücks bewegen.

  • A- und B -Achsen : Dies sind Rotationsachsen, die das Werkzeug oder das Werkstück drehen können und die Bearbeitung komplexer Winkel und Konturen ermöglichen.

Diese verbesserte Bewegungsfunktion macht die 5-Achsen-CNC-Maschine ideal, um Teile mit komplizierten Details und komplexen Geometrien zu erstellen, was für Branchen wie Luft- und Raumfahrt und medizinische Geräteherstellung unerlässlich ist.


5cnc


Wie funktioniert eine 5-Achsen-CNC-Maschine?

Der Betrieb einer 5-Achsen-CNC-Maschine wird durch hoch entwickelte Software ermöglicht, die jede Bewegung mit unglaublicher Präzision steuert. Es kombiniert sowohl lineare als auch Rotationsbewegungen und ermöglicht es der Maschine, sich dem Teil von praktisch jedem Winkel zu nähern.

Das System interpretiert Designdateien, die mit CAD-Software (computergestützter Design) erstellt wurden. Die CNC -Maschine folgt den von dieser Software generierten ToolPaths und stellt sicher, dass jede Bewegung mit Präzision ausgeführt wird.

Beispiele für Operationen Eine 5-Achsen-CNC-Maschine kann durchgeführt werden, einschließlich:

  • Komplexes Mahlen : Erstellen detaillierter Teile mit präzisen Winkeln und Konturen.

  • Bohrungen : Zugriff auf schwer zugängliche Bereiche des Teils ohne manuelle Anpassungen.

  • Gravur : Erstellen von komplizierten Designs und Text mit scharfen Details.

Bei RBT Intelligent Equipment verwenden wir die neueste in 5-Achsen-CNC-Technologie, mit der wir benutzerdefinierte Teile und Werkzeuge für Branchen herstellen können, die hohe Präzision und komplexe Designs erfordern.


Welche Produkttypen können mit einer 5-Achsen-CNC-Maschine hergestellt werden?

5-Achsen-CNC-Maschinen sind unglaublich vielseitig und können eine breite Palette von Produkten in verschiedenen Branchen schaffen. Ihre Fähigkeit, komplexe Formen und Teile aus mehreren Winkeln präzise zu maschinen, macht sie ideal für die Herstellung von hochpräzisen. Im Folgenden finden Sie einige wichtige Beispiele für Produkte, die mit 5-Achsen-CNC-Bearbeitung hergestellt wurden.


Branchenprodukt Beispiele wichtige
Automobil Turbolader -Impeller, Motorkomponenten Hochvorbereitete Teile mit komplexen Geometrien.
Luft- und Raumfahrt Turbinenblätter, Motorkomponenten Fähigkeit, strenge Toleranzen zu erfüllen und hohem Druck zu standhalten.
Medizinisch Implantate, chirurgische Werkzeuge Anpassung und hohe Präzision für sicherheitskritische Komponenten.
Unterhaltungselektronik Smartphone -Teile, Leiterplatten Kleine, komplizierte Teile mit engen Toleranzen.
Benutzerdefinierte Formen Injektionsformen, Werkzeug Langlebige, komplizierte Formen für die Massenproduktion.
Architektur und künstlerisch Skulpturen, architektonische Elemente Fähigkeit, detaillierte und komplexe Designs zu erstellen.


Diese Maschinen bieten enorme Flexibilität und ermöglichen es den Herstellern, alles von Hochleistungs-Automobilkomponenten bis hin zu komplizierten künstlerischen Skulpturen zu erstellen. Ob in der Industrie für medizinische, Luft- und Raumfahrt oder Unterhaltungselektronik, 5-Achsen-CNC-Bearbeitung sorgt für Präzision, Effizienz und Innovation.


Die Vorteile der Verwendung einer 5-Achsen-CNC-Maschine

5-Achsen-CNC-Maschinen bieten mehrere wichtige Vorteile und verbessern sowohl die Effizienz als auch die Produktqualität in verschiedenen Branchen. Im Folgenden finden Sie eine Aufschlüsselung der Hauptvorteile durch 5-Achsen-Bearbeitung.


Vorteile Beschreibung Beispiel
Verbesserte Präzision und Genauigkeit Fähigkeit, eine höhere Präzision mit komplexen Schnitten und detaillierten Merkmalen zu erreichen. Luft- und Raumfahrt -Turbinenklingen, medizinische Implantate.
Schnellere Produktionszeit Reduzierte Einrichtungszeiten, sodass mehrere Vorgänge in einem einzigen Setup ausgeführt werden können. Komplexe Teile wie Automobilkomponenten.
Reduzierter Bedarf an Werkzeugänderungen Beseitigt die Notwendigkeit mehrerer Setups und Tooländerungen und verringert die Ausfallzeit. Hocheffiziente Produktion von kundenspezifischen Formen und Teilen.
Verbesserte Oberflächenfinish und Qualität Der Multi-Winkel-Ansatz sorgt für bessere Oberflächenoberflächen und reduzierende Werkzeugmarken. Luft- und Raumfahrt- und medizinische Komponenten, die fehlerfreie Oberflächen erfordern.


Durch die Verwendung von 5-Achsen-CNC-Maschinen können Hersteller die Produktionszeit erheblich verkürzen, die Genauigkeit erhöhen und die Gesamtqualität ihrer Produkte verbessern. Diese Vorteile machen 5-Achsen-CNC-Bearbeitung zu einer idealen Lösung für Branchen, die hohe Präzision und Effizienz erfordern, wie z. B. Luft- und Raumfahrt-, Automobil- und medizinische Geräteherstellung.


Welche Materialien können mit einer 5-Achsen-CNC-Maschine bearbeitet werden?

5-Achsen-CNC-Maschinen sind sehr vielseitig und können eine breite Palette von Materialien bearbeiten, wodurch Präzision und Effizienz in der gesamten Branche angeboten werden. Im Folgenden finden Sie einen Überblick über gängige Materialien, die mithilfe der 5-Achsen-Technologie bearbeitet werden können.


Materialtyp Beispiele Schlüsselvorteile
Metalle Aluminium, Stahl, Titan Hohe Stärke und Haltbarkeit; Ideal für Luft- und Raumfahrt-, Automobil- und medizinische Teile.
Kunststoff & Verbundwerkstoffe Verbundwerkstoffe, Kunststoff Leicht, langlebig und ideal für Elektronik-, Automobil- und Medizinindustrien.
Holz & weiche Materialien Holz, Schaum, Gummi Präzisionsfertigung detaillierter Formen und benutzerdefinierten Designs für Möbel und Prototypen.


Diese Materialien profitieren von den einzigartigen Funktionen von 5-Achsen-CNC-Maschinen, die Präzisionsbearbeitung aus mehreren Winkeln bieten und sie auch für komplexeste Teile und komplizierte Designs geeignet sind. Egal, ob es sich um harte Metalle, leichte Verbundwerkstoffe oder weiche Materialien handelt, 5-Achsen-CNC-Maschinen gewährleisten konsistente, qualitativ hochwertige Ergebnisse.


So wählen Sie die richtige 5-Achsen-CNC-Maschine für Ihre Anforderungen aus


Faktoren, die beim Kauf einer 5-Achsen-CNC-Maschine berücksichtigt werden müssen

Bei der Auswahl einer 5-Achsen-CNC-Maschine sind mehrere Schlüsselfaktoren zu berücksichtigen. Denken Sie zunächst an die Größe und Konfiguration der Maschine. Es muss in Ihren Arbeitsbereich passen und in der Lage sein, die von Ihnen hergestellten Teile umzugehen.

  • Größe : Betrachten Sie die Abmessungen der Teile, mit denen Sie arbeiten werden. Stellen Sie sicher, dass die Maschine Ihre größten Komponenten aufnehmen kann.

  • Funktionen : Überprüfen Sie, ob die Maschine die von Ihnen planen, die Sie verwenden möchten, z. B. Metalle, Kunststoffe oder Verbundwerkstoffe.

Darüber hinaus ist es entscheidend, die zu bewerten . Kosten im Vergleich zu Nutzen auf der Grundlage Ihrer Produktionsanforderungen Eine High-End-Maschine bietet möglicherweise erweiterte Funktionen, ist jedoch möglicherweise nicht erforderlich, wenn Ihre Projekte weniger komplex sind. Betrachten Sie Ihr Budget und den erwarteten ROI.


Auswahl zwischen vertikalen und horizontalen 5-Achsen-CNC-Maschinen

5-Achsen-CNC-Maschinen sind sowohl in vertikalen als auch in horizontalen Konfigurationen erhältlich. Jeder Typ hat seine Stärken. Daher ist es wichtig, die zu wählen, die Ihren Produktionsanforderungen am besten entspricht.

  • Vertikale Maschinen : Ideal für kleinere Teile und Vorgänge, die eine hohe Sichtbarkeit und einfache Zugang erfordern. Sie eignen sich hervorragend für Teile, die Präzision erfordern, aber nicht viel Bewegung in der Z-Achse benötigen.

  • Horizontale Maschinen : Besser für größere, schwerere Teile. Sie zeichnen sich in der Produktion von Hochvolumien aus, wo sich das Werkstück um mehrere Achsen drehen muss.

    5 Achsenmaschine für die Luft- und Raumfahrtindustrie



Zukunft der 5-Achsen-CNC-Bearbeitung


Technologische Fortschritte in 5-Achsen-CNC-Maschinen

Die Zukunft von 5-Achsen-CNC-Maschinen ist aufregend, mit verschiedenen technologischen Fortschritten am Horizont. Es wird erwartet, dass Innovationen wie KI und Automatisierung eine wichtige Rolle bei der Verbesserung der Bearbeitungsfähigkeiten spielen. Diese Technologien werden es Maschinen ermöglichen, sich selbst zu optimieren und die Effizienz und Präzision in Echtzeit zu verbessern.

  • KI -Integration : KI hilft Maschinen, aus früheren Operationen zu lernen und ihre Einstellungen für optimale Ergebnisse anzupassen.

  • Automatisierung : Automatisierung verringert das menschliche Fehler, erhöht die Produktionsgeschwindigkeiten und ermöglicht den kontinuierlichen Betrieb.

Diese Fortschritte machen 5-Achsen-CNC-Maschinen intelligenter, schneller und vielseitiger und überschreiten die Grenzen dessen, was im Fertigung möglich ist.


Wachsende Anwendungen und Branchen

Wenn sich die 5-Achsen-CNC-Technologie entwickelt, wird sie in neue Branchen und Anwendungen expandieren. Beispielsweise werden 3D- Sektoren für erneuerbare Energien stark von der Präzision und Flexibilität der 5-Achsen-Bearbeitung profitieren.

  • 3D-Druck : 5-Achsen-Maschinen spielen eine wichtige Rolle bei der Schaffung komplexer 3D-gedruckter Formen und Teile.

  • Erneuerbare Energien : Die Fähigkeit, komplizierte Komponenten für Windkraftanlagen, Sonnenkollektoren und andere Technologien für erneuerbare Energien zu produzieren.


Abschluss

5-Achsen-CNC-Maschinen sind für die moderne Herstellung von wesentlicher Bedeutung und bieten beispiellose Präzision und Vielseitigkeit. Ihre Fähigkeit, komplexe Teile zu bewältigen, macht sie in Branchen wie Luft- und Raumfahrt, Automobilversorgung und Gesundheitswesen von unschätzbarem Wert.

Wenn die Technologie weiter voranschreitet, wird das Potenzial von 5-Achsen-CNC-Maschinen nur wachsen. Bei RBT Intelligent Equipment sind wir bereit, Ihnen bei der Erkundung der Leistung von 5-Achsen-Bearbeitung für Ihre Projekte zu helfen.


FAQ


F: Welche Branchen profitieren am meisten von 5-Achsen-CNC-Bearbeitung?

A: Branchen wie Luft- und Raumfahrt, Automobil, Medizin und Elektronik profitieren am meisten. 5-Achsen-CNC-Maschinen können komplexe, hochpräzise Teile produzieren, die für diese Sektoren benötigt werden.


F: Wie ist eine 5-Achsen-CNC-Maschine im Vergleich zu einer 3-Achsen-CNC-Maschine in Bezug auf Präzision verglichen?

A: 5-Achsen-CNC-Maschinen bieten eine überlegene Genauigkeit, indem das Schneidwerkzeug aus mehreren Blickwinkeln nähert und komplizierte Formen erreicht, die für 3-Achsen-Maschinen schwierig sind.


F: Welche Arten von Teilen können mit einer 5-Achsen-CNC-Maschine hergestellt werden?

A: 5-Achsen-CNC-Maschinen können Automobilkomponenten, Luft- und Raumfahrtteile, medizinische Implantate, Unterhaltungselektronik, benutzerdefinierte Formen und architektonische Designs herstellen.


F: Was ist der Unterschied zwischen vertikalen und horizontalen 5-Achsen-CNC-Maschinen?

A: Vertikale 5-Achsen-Maschinen bieten einfacheren Zugang und Sichtbarkeit, ideal für kleinere Teile, während horizontale 5-Achsen-Maschinen für größere, schwerere Teile mit komplexen Rotationen besser sind.


F: Wie kann die 5-Achsen-CNC-Bearbeitung dazu beitragen, die Produktionszeit in komplexen Teilen herzustellen?

A: Durch das Ermöglichen mehrerer Vorgänge in einem einzigen Setup reduziert die 5-Achsen-Bearbeitung die Notwendigkeit von Toolwechsel und neu-fixturing, wodurch die Produktionszeit erheblich beschleunigt wird.


KONTAKTINFORMATIONEN

Hinzufügen: RBT Intelligent Park, Nr. 588, Tangtou Village, Taiwan-Investitionsgebiet, Stadt Quanzhou, Provinz Fujian, China
Tel: +86-13860709162

SCHNELLE LINKS

KATEGORIEN

KONTAKT JETZT ANFRAGEN
Urheberrechte © 2023 FUJIAN RBT INTELLIGENT EQUIPMENT CO.,LTD. SItemap | Datenschutzrichtlinie |Unterstützung von Leadong.